Electrostatic Plasma Accelerator (EPA)

Primary menu
Start a New Search:
Record Details
‹ Previous Record | › Next Record
›Printable View
Text SizeGrow Text SizeShrink Text Size
Record 10 of 13
Availability: Available in document 19960020642 on p. 92-94, or for help Contact the Information Desk
Author and Affiliation:
Brophy, John R. (Center for Advanced Space Propulsion, Tullahoma, TN United States)
Aston, Graeme (Center for Advanced Space Propulsion, Tullahoma, TN United States)
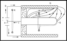
Abstract: The application of electric propulsion to communications satellites, however, has been limited to the use of hydrazine thrusters with electric heaters for thrust and specific impulse augmentation. These electrothermal thrusters operate at specific impulse levels of approximately 300 s with heater powers of about 500 W. Low power arcjets (1-3 kW) are currently being investigated as a way to increase specific impulse levels to approximately 500 s. Ion propulsion systems can easily produce specific impulses of 3000 s or greater, but have yet to be applied to communications satellites. The reasons most often given for not using ion propulsion systems are their high level of overall complexity, low thrust with long burn times, and the difficulty of integrating the propulsion system into existing commercial spacecraft busses. The Electrostatic Plasma Accelerator (EPA) is a thruster concept which promises specific impulse levels between low power arcjets and those of the ion engine while retaining the relative simplicity of the arcjet. The EPA thruster produces thrust through the electrostatic acceleration of a moderately dense plasma. No accelerating electrodes are used and the specific impulse is a direct function of the applied discharge voltage and the propellant atomic mass.
Publication Date: October 31, 1995
Document ID:
19960020652
(Acquired June 02, 1996)
Accession Number: 96N71235
Subject Category: PLASMA PHYSICS
Document Type: Technical Report
Publication Information: SEE parent document record, "Center for Advanced Space Propulsion"; p. 92-94; NASA-CR-199689
Financial Sponsor: NASA Headquarters; Washington, DC, United States
Organization Source: Center for Advanced Space Propulsion; Tullahoma, TN United States
Description: 3p; In English
Distribution Limits: Unclassified; Publicly available; Unlimited
Rights: No Copyright
NASA Terms: COMMUNICATION SATELLITES; ELECTROSTATICS; ION ENGINES; ION PROPULSION; LOW THRUST; PLASMA ACCELERATORS; LOW THRUST PROPULSION; PLASMA PROPULSION; PROPULSION SYSTEM CONFIGURATIONS; SPECIFIC IMPULSE; PROPULSION SYSTEM PERFORMANCE; ELECTRIC PROPULSION; ROCKET PROPELLANTS
